1 Scope and field of application
This International Standard specifies a method for determining the coefficient of mean linear thermal expansion of glass in the elastic solid-like state, well below the transformation tempera ture (see ISO 7884-8).
This International Standard applies to all glasses of normal bulk-production compositions. It does not apply to fused silica, glass ceramics or other glasses of similarly low linear thermal expansion coefficients.
2 References
ISO 7884-8, Glass — Viscosity and viscometric fixed points — Part 8: Determination of (dilatometric) transformation tem perature.
IEC Publication 584-1, Thermocouples — Part 1: Reference tables.
3 Definition
For the purposes of this International Standard, the following definition applies.
coefficient of mean linear thermal expansion, a(t^ t) : The ratio of the change in length of a specimen within a temperature interval to that temperature interval, related to the initial specimen length.
It is given by the following equation:
a”o;f)=Jx^^ …⑴
*O t 一 to
where
t0 is the initial or reference temperature;
t is the actual (constant or variable) specimen tem perature;
l0 is the length at temperature tQ of the specimen of glass under test (usually a rod made from the glass);
/ is the specimen length at temperature t.
For the purposes of this International Standard, the nominal reference temperature, tQ, is 20 °C; therefore the coefficient of mean linear thermal expansion is denoted by a(20 °C; /).
4 Apparatus
4.1 Device for measuring the specimen length, to an ac curacy of 0,1 %.
4.2 Push-rod dilatometer, capable of determining changes in length of the specimen of 2 x 10~5 /0 (i.e. 2 um per 100 mm).
The contact force of the extensometer should not exceed 1 N. That force shall act through contacts of planes with spherical faces the radii of curvature of which shall be not less than the rod diameter of the specimen. In some special assemblies (see figure 1) parallel planes are needed.
The specimen-hoiding assembly shall ensure that the specimen is hold firmly in position and shall prevent even small changes in its alignment with respect to the push-rod axis throughout the test (see examples given in the annex).
If the specimen-holding assembly is made of vitreous silica, see the precautions given in 7.2.
From time to time, a performance test shall be carried out using a reference material (see clause 8).
4.3 Furnace, compatible with the dilatometer assembly, for temperatures up to 50 °C above the expected transformation temperature. The working position of the furnace relative to the dilatometer assembly shall be defined with a repeatability of 0,5 mm in both the axial and the radial directions.
Within the range of testing temperatures (i.e. up to tempera tures about 150 °C below the highest expected transformation temperature, rg, and at least up to 300 °C), the furnace shall be capable of maintaining a constant temperature to ± 2 °C over the whole specimen length.
4.4 Furnace control device, suitable for the desired rate of increase in temperature up to (5 ± 1) °C/min within the test range (see 6.1) and for a cooling rate of (2 ± 0,2) °C/min for the annealing procedure according to 5.2.
4.5 Temperature-measuring device (e.g. a thermocouple of type E, J or K in accordance with IEC 584-1), capable of determining the temperature of the specimen to ± 2 °C in the temperature range between t0 and t.
5 Test specimen
5.1 Shape and size
The test specimen is usually in the form of a rod. Its shape depends on the type of dilatometer used. The length lQ shall be at least 5 x 104 times the resolution of the dilatometer's measuring device for the change in length.
NOTE — The specimen may be, for example, a rod either with a cir cular cross-section having a diameter of 5 mm or with a square cross section 5 mm x 5 mm, and between 25 and 100 mm in length. In cer tain cases, a cross-section of at least 100 mm2 is more convenient (see the annex).
5.2 Preparation
The test specimen shall be annealed before the test by heating it to about 30 °C above the transformation temperature and then cooling it to about 150 °C below the transformation temperature at a rate of (2 ± 0,2) °C/min, followed by further cooling to room temperature in draught-free air.
5.3 Number
The test shall be carried out with two test specimens (see also 7.4).
6 Procedure
6.1 Choice of the test range
In accordance with clause 3, the nominal reference temperature is 20 °C. For practical reasons, however, the measurement may be started between 18 and 28 °C. The preferred final actual temperature is 290 °C < Z < 310 °C. If this is not practical, then the alternative values 190 °C < t < 210 °C, or, in special cases, 95 °C < r < 105 °C or 390 °C < r < 410 °C may be chosen. The corresponding nominal values of t are 300 °C, 200 °C, 100 °C, and 400 °C, respectively.
Ail readings of temperatures and temperature differences shall be taken with an accuracy to 2 °C. Though these actual values are used in the calculations in accordance with clause 7, the test range shall be expressed in terms of the nominal tem peratures (see 7.4). For a given coefficient a(20 °C; f) ex pressed in terms of the nominal temperature, no influence on the value of the coefficient can be detected within the limits specified for the preferred actual temperatures.
6.2 Determination of the reference length
Determine the reference length lo of the annealed specimen (see 5.2) to an accuracy of 0J % at the reference temperature t0. Subsequently insert the specimen into the dilatometer and wait for about 5 min before beginning the test as described in 6.3 or 6.4.
6.3 Test at increasing temperature
Determine the position of the dilatometer at the initial temperature t0 and take this reading as zero for the uncorrected change in length, A/mea$, which will be measured. Subse quently set the furnace control device (4.4) to the desired heating programme and start the programme. Record the temperature t and the related change in length A/meas until the desired final temperature has been reached.
NOTE — The rate of temperature increase should not exceed 5 °C/min.
As the dilatometer readings of ^/^35 are recorded during the increase in the temperature between to and t (values chosen in accordance with 6.1), it should be borne in mind that a temperature difference will exist between the hot junction of the thermocouple and the test specimen; therefore a correction shall be applied to the apparent temperature of the test specimen.
NOTE — The magnitude of this correction depends on the rate of temperature change and the rate of heat exchange between the fur nace and the test specimen. It is essential that the correction is deter mined experimentally by comparison with measurements at constant temperatures.
6.4 Test at constant temperature
Determine the position of the dilatometer at the initial temperature t0 and take this reading as zero for the uncorrected change in length, A/meas, which will be measured. Subse- quently heat the furnace to the selected final temperature t and hold it constant to ± 2 °C for 20 min. Then take from the dilatometer reading the value of A/^s.
NOTE — Although the test at increasing temperature (6.3) enables a set of coefficients a(t^ t) with various values of t to be determined in one test run, the test at constant temperature (6.4) should be preferred if only one final value of t is required since this test affords the better precision.
7 Expression of results
7.1 Calculation of the final length
From the measured change in length, AZmeas/ the corrected length / at temperature t is calculated using the following equa tion:
I =【O + A,meas + M) — &B …⑵
where the correction terms A/Q and A/B are explained in 7.2 and 7.3 respectively.
7.2 Calculation of the expansion of the specimen holding assembly
In the case of a simple push-rod dilatometer, the correction term A/q in equation (2) is the thermal expansion of that part of
the specimen-holding assembly alongside the specimen, hav ing the length lo at temperature t0.
In the case of a differential push-rod dilatometer, the correction term A/q is the expansion of a reference rod with the specimen length lo at temperature /0.
In either case, the correction term A/Q is calculated using the following equation:
A/q = , Qq •-,o) ...(3)
where is (in the case of a simple push-rod dilatometer) the coefficient of mean linear thermal expansion of the material from which the specimen-holding asembly is made or (in the case of a differential push-rod dilatometer) the coefficient of mean linear thermal expansion of the material of the reference rod.
If specimen-holding assemblies, push-rods or reference rods are made from vitreous silica which is essentially hydroxyl-free, the values of aQ given in the table may be used. Before these parts of the dilatometer are used for the first time, they shall be annealed for 7 h at 1 100 °C, and then cooled from 1 100 to 900 °C at a constant rate of 0,2 °C/min.
In order to avoid devitrification of vitreous silica the surfaces shall be kept clean. It is recommended that they are cleaned twice with analytical-grade alcohol, after which contact with bare fingers shall be avoided.
Table — Coefficient of mean linear thermal expansion aQ
for vitreous silica
Range of temperature, °C | Value of a。, K |
20 to 100 20 to 200 20 to 300 20 to 400 | 0,54 x IO-6 0,57 x 10-6 0,58 x 10-6 0,57 x 10-6 |
NOTE — The values of Qq given in the table are altered if the system is heated to above 700 °C.
7.3 Determination of the dilatometer correction
The dilatometer correction term A/q is needed mainly because of irregularities in temperature distribution within the transient range between the specimen at temperature t and the exten someter at ambient temperatures. The dilatometer correction term should be determined by means of a blank test.
In the case of a simple push-rod dilatometer, the specimen for the blank test is made of the same material as the dilatometer. If that material is vitreous silica, the specimen for the blank test shall be annealed in accordance with 7.2.
In the case of a differential push-rod dilatometer, two identical specimens of any suitable material can be used.
The measurements on glass and the blank test shall be carried out under identical conditions. The blank test shall be repeated at least whenever a performance test in accordance with clause 8 is carried out.
7.4 Calculation of the coefficient of mean linear thermal expansion
In order to calculate the coefficient of mean linear thermal ex pansion, a(/0; t), insert the measured values of l0 and A/measr the corrections established in accordance with 7.2 and 7.3, and the actual values of ro and t (with t corrected, if it is determined using the test at increasing temperature) into the following equation:
恥 t) = -Lx Meas + Zq _ A/b (4)
Zo t _ to
Calculate a(20 °C; 300 °C), a(20 °C; 200 °C), a(20 °C; 100 °C) or a(20 °C; 400 °C) for the two test specimens (5.3) to two significant figures if a(20 °C; f) < 10 x 10~6 K_1 or to three significant figures if a(20 °C; /) > 10 x 10-6 K-L
If the results for the two test specimens differ by not more than 0,2 x 10~6 k~i, take the arithmetic mean. If the difference is larger, repeat the test with two other test specimens.
8 Performance test
In order to check that the whole test device is functioning cor rectly, the test procedure and calculation laid down in clauses 6 and 7 shall be carried out on a specimen of a reference materiaL the value of the coefficient of mean linear thermal expansion of which is certified.1,
Recommended reference materials are as follows :
— vitreous silica annealed according to 7.2;
— sapphire single crystal;
— chemically pure platinum.
NOTE — Sintered alumina (AI2O3) as a reference material is very insen-; sitive to the thermal treatment applied in the test procedure laid down in this International Standard. However, the values of the mean linear : thermal expansion coefficient differ from one rod to another.
The shape and dimensions of the reference specimen shall be similar to those of the specimens usually tested in the test device.
Care shall be taken to ensure that the thermal expansion behaviour of the reference material is not altered by the test. If the reference material is a glass, it shall be annealed (or re annealed) in accordance with 5.2, unless other procedures are specified by the certifier.
9 Test report
The test report shall include the following information:
a) reference to this International Standard;
b) specification, type and state of delivery of the glass tested;
c) shape, size and number of test specimens;
d) type of push-rod dilatometer used;
e) type of test run (constant or increasing temperature, rate of increase);
f) coefficient of mean linear thermal expansion a(20 °C; t) expressed in 10-6 K_1
—to two significant figures, if a(20 °C; < 10 x 10-6
KT;
—to three significant figures, if a(20 °C; /) > 10 x 10-6 K-1.
For the temperatures tQ and t, use the nominal values (see 7.4).
Annex
Devices for self-adjusting alignment of specimen and push-rod axis
(This annex forms an integral part of the standard.)
Ideally the axes of the test specimen and push-rod coincide, and the length l0 should lie in the same axis. In practice, small deviations between the axes of the test specimen and push-rod may occur. Such deviations are negligible only when that misalignment remains constant throughout the test. Similar considerations hold true for the push-rod direction and the working direction of the extensometer. Changes in alignment (e.g. caused by vibration of the apparatus) shall be avoided by appropriate devices as shown in the examples (figures 1 and 2).
An example for minimizing changes in alignment in a dilatometer assembly working almost vertically is illustrated in figure 1. The guiding devices made from platinum wire prevent further lateral changes in the position of specimen and push rod once the stable position is achieved by slight shaking. The axial movements caused by thermal expansion, however, are not hindered. Exactly vertically mounted dilatometer assemblies have been found to be the most sensitive with respect to changes in alignment during the test.

Figure 1 — Example of a specimen-holding and push-rod assembly of a dilatometer working almost vertically
1 Specimen-holding tube with dilatometer base and sealed end plug ground flat perpendicular to tube axis, made from fused silica
2 Push-rod made from fused silica
3 Guiding device for the push-rod, made from platinum wire, 0,5 to 1 mm in diameter
4 Guiding device for the specimen, made from platinum wire, 0,5 to 1 mm in diameter
NOTE — Between the base and the push-rod, half the tube is cut away so that the test specimen can be easily changed.
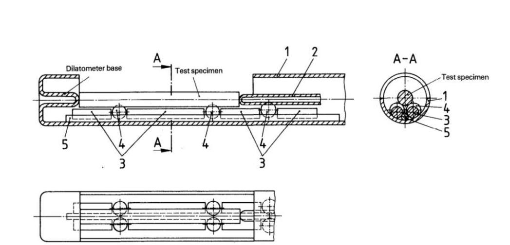
An example for minimizing changes in alignment in a dilatometer working horizontally is illustrated in figure 2. The support for the specimen consists of four spheres (e.g. made from ruby or fused silica), a cylindrical guide-rod, and suitable distance holders. The push-rod is also supported by two spheres of suitable diameter guided on the same guide-rod. After the apparatus has been shaken gently the test specimen and push-rod achieve a stable position.

Figure 2 — Example of a specimen-holding and push-rod assembly of a dilatometer working horizontally
1 Specimen-holding tube with dilatometer base made from fused silica
2 Push-rod made from fused silica
3 Distance holders made from fused silica
4 Supporting spheres made from fused silica or ruby
5 Guide-rod made from fused silica
NOTE — Between the base and the push-rod, hatf the tube is cut away so that the test specimen can be easily changed.
We recommend our HY8120 Linear Thermal Expansion Tester to run this ISO 10545-8. It is used to determine the coefficient of linear thermal expansion of solid inorganic materials and metal materials, such as corundum, refractories, ceramic products, ceramic raw materials, glass, graphite, etc. The sample in this machine can be protected by atmosphere as required by the user, also the machine can be vacuumed and the vacuum degree is 0.1MPa. (Anytester (Hefei) Co., Ltd.)