Common Dyeing Equipment Processes and New Dyeing Techniques – Part 3
Section 1 Common Dyeing Equipment – part 3
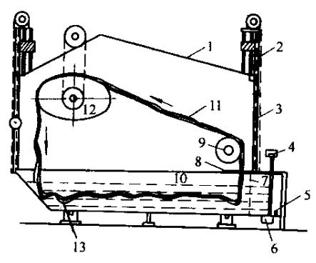
Winch rope dyeing machine


1. Slot cover 2. Pulley 3. Window door 4, 5, 6- Drainage valve 7- Porous plate
8- Distribution grid 9- Passive guide roller 10- Dyeing solution 11- Fabric
12- Elliptical guide plate 13- Dyeing tank
Processing characteristics: The equipment has a simple structure, low price, convenient operation, few mechanical failures, and is easy to maintain. However, entering and exiting the dyeing machine for fabrics requires manual operation, which results in high labor intensity and low output. Its minimum dyeing bath ratio is 1:20 Mainly used for dyeing knitted fabrics.
Overflow dyeing machine


1. Fabric 2. Active guide roller 3. Overflow port 4. Overflow groove
5-Overflow distribution pipe 6-Circulation pump 7-Heat exchanger 8-Immersion tank
Processing characteristics: The equipment has a high degree of automation, is easy to operate, and the fabric is in a relaxed state during dyeing, with less tension, uniform dyeing, and a soft hand feel. It can be dyed at room temperature and pressure, and can also be used for high-temperature and high-pressure dyeing. It is mainly suitable for dyeing synthetic fiber knitted fabrics, elastic fabrics, and thin, loose, and elastic cellulose fiber products.
Jet dyeing machine

1. Fabric 2. Nozzles 3. Immersion zone 4. Circulation pump
5-heat exchanger 6-backwash nozzle 7-batching drum 8-feeding pump
The difference between jet dyeing machine and overflow dyeing machine
The main difference is that the rise of the fabric in the overflow dyeing machine is driven by the active guide roller, while the rise of the fabric in the jet dyeing machine is driven by the jet dye, so the tension on the fabric is smaller, the tension on each part is more uniform, and the dyeing feel is softer. But the operation requirements of this device are high, and suitable nozzles need to be selected according to different specifications of fabrics. If not mastered properly, it is easy to cause fabric blockage.
Jet overflow dyeing machine


1. Fabric 2. Guide roller 3. Overflow port 4. Nozzles 5. Cloth conveying pipeline
6-impregnation tank 7-circulation pump 8-heater 9-spray pipe
Features: The dyeing machine has both an overflow device and a spraying device. Compared with overflow dyeing machines, fabrics are subjected to less tension, have a smaller dyeing bath ratio, have faster circulation speed between dye solution and fabric, and have better levelness. Compared with jet dyeing machine, the operation is relatively simple, but it is easy to produce a lot of foam.
AT275 Lab Winch Dyeing Machine from Anytester is designed for laboratory use of dyeing, boiling off, bleach and washing, etc. processing for all kinds of fabric of blinding up to 100℃, and for the application of dyeing and processing for rayon, polyacry-nitrile fiber, and blended fabric under normal temperature& normal pressure. Click here to learn more.
For more dyeing machines, please contact us.