Scope
1. These test methods cover the meansurement of apparent density, bulk factor, and where applicable, the pourability of plastic materials such as molding powders. Different proce-dures are given for application to the various forms of these materials that are commonly encountered , form fine powders and granules to large flakes and cut fibers.
2. The values stated in SI units are to be regarded as the standard. The values in parentheses are for information only.
Note 1--Test Method A is equivalent to ISO Method R 60 as described in the appendix. Test Method C is identical with ISO Method R 61.
APPARENT DENSITY-Test Method A
1. Scope
1. Test Method A covers the measurement of the aparent density of the fine granules and powders that can be poured readily through a small funnel.
2. Apparatus
2.1 Measuring Cup-A cylindrical cup of 100±0.5-cm capacity, having a diameter equal to half the height, for example, 39.9-mm(1.572-in) inside diameter by 79.8-mm(3.144-in) inside height, as shown in Fig.1
2.2 Funnel, having a 9.5-mm diameter opening at the botton, and mounted at a height 38mm above the measuring cup, as shown in Fig.1.
3. Procedure
3.1 With the apparatus assembled as shown in Fig.1, close the small end og the funnel with the hand or with a suitable flat strip and pour a 115±5- cm³ sample into the funnel. Open the botton of the funnel quickly and allow the material to flow freely into the cup. If caking occurs in the funnel, the material may be loosened with a small glass rod.
3.2 After all the material has paaed through the funnel, immediately scrape off the excess on the top of the cup with a straighedge without shaking the cup. Weight the material in the cup to the nearest 0.1g. Calculate the weight in grams of 1 cm³ of the material.
3.3 Very fine material that will bridge and not flow through the funnel may be poured lightly from a paper held approxi-mately 38mm(1.5 in) above the opening of the measuring cup.
Test Method B
1 Scope
1.1 Test Method B covers the measurement of the apparent density of coarse, granular materials, including dice and pellets, that either cannot be poured or that pour with diffculty through the funnel described in Test Method A.
2. Apparatus
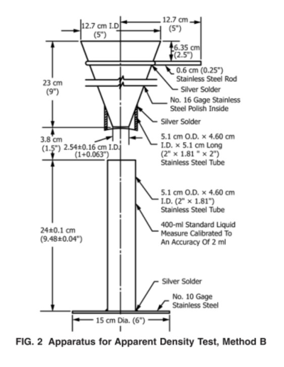
2.1 Measuring Cup-A cylindrical cup of 400-cm³ capacity, as shown in Fig.2.
2.2 Funnel, having a 25.4-mm(1-in.)dismeter opening at the botton, and mounted at a height 38mm(1.5 in.) above the measuring cup, as shown in Fig.2.
3. Procedure
3.1 With the apparatus assembled as shown in Fig.2, close the small end of the funnel with the hand or with a suitable flat strip and pour a 500±20-cm³ sample into the funnel. Open the botton of the funnel quickly and allow the material to flow freely into the cup.
3.2 After al the material has passed through the funnel, immediately scrape off the excess on the top of the cup with a straightedge withou shaking the cup. Weight the material in the cup to the nearest 0.1g. then calculate the weight in grams of 1 cm³ of the material. Make three determeinations of the apparent density on each sample and average the results(Note 2).
Test Method C
1. Scope
1.1 Test Method C(see Note 1) covers the measurement of the apparent density of materials supplied in the form of coarse flakes, chips, cut fiber, or strands. Such material cannot be poured through the funnel describerd in Test Method A and b. Also, since they ordinarily are very bulky when loosely poured and since they usually are cimpressible to a lesser bulk, even by hand, a measure of their density under a small load is appropriate useful.
2. Apparatus.
2.1 Measuring Cylinder-A cylinder of 1000-cm3 capacity, as shown in Fig.3.
2.2 Wight Plunger-A cylinder closed at one end and having an outside diameter slightly smaller than the inside diameter of the measuring cylinder, as shown in Fig3.3 The plunger shall hace a scale cut on the outside surface, graduated in intervals of 1mm.
3. Procedure
3.1 Place the measuring cylinder on a piece of paper loosely drop 60±0.2 g of the material to be tested into the measuring cylinder from a heoght approximately that of the cylinder, taking care to lose none of the material and to drop it as uniformly as practicable. Before applying the weifght, level the material in the measuring in centimetres and identify this measurement as H1.
3.2 Fill the weight plunger with lead shot to obtain a toal weight of 2300±20g(5.07±0.04lb), including the plunger, lower this weight gradually into the measuring cylinder until it is entriely supported by the material. Allow the weight to settle for 1 min and take the reading from the scale to the nearest 0.1cm. This reading will give directly in centimetres the height of the material.
Regarding to this ASTM D1895 Standard, we would like to recommend you our AT303 ASTM Series Apparent Density Tester. For mode detsil, if you have any interest please contact us without any hesitation.

1-Funnel
2-Funnel supporting ring
3-Fixing screw
4-Supporting rod
5-Metal flat strip
6-Base
7-Measuring cup